Porsche is bezig met een opmerkelijke 6-taktmotor, zo werkt het
Elektromotoren zijn efficiënt en stil, maar kunnen doordat ze een stuk minder gecompliceerd zijn minder fascineren dan brandstofmotoren. Porsche vindt zelfs een twee- of viertaktmotor te eenvoudig en vraagt patent aan op een opmerkelijke zestaktmotor.
Inlaat, compressie, arbeid en uitlaat. Dat zijn de vier slagen van een brandstofmotor die we het vaakst in auto’s vinden. Jawel, viertakt. Wat kan hier aan toegevoegd worden? Zet je schrap, want in dit artikel gaan we de diepte in.
Zo werkt de zestaktmotor van Porsche
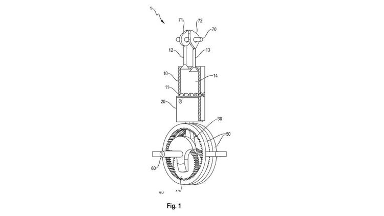
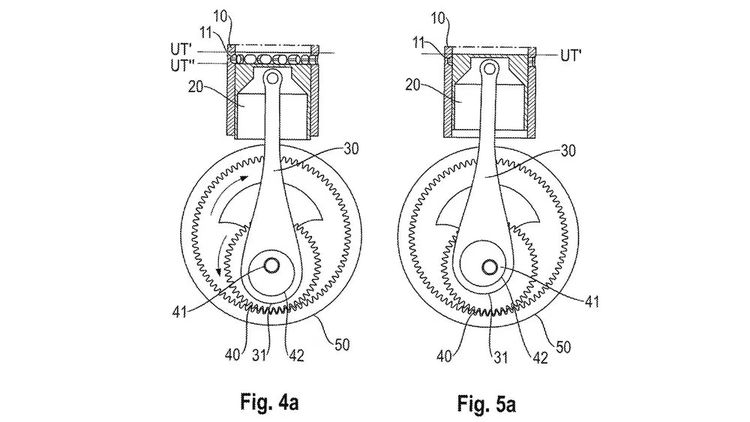
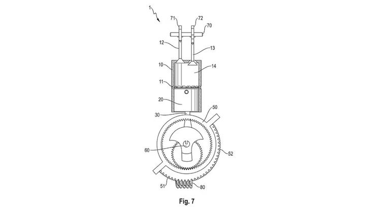
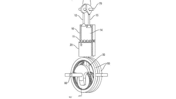
De zestaktmotor van Porsche heeft ook een Inlaat-, compressie-, arbeid- en uitlaatslag. De engineers van het Stuttgartse merk zeggen hier nog een compressie- en arbeidslag aan toe te kunnen voegen. Die slagen vinden plaats tussen de gebruikelijke arbeid- en uitlaatslag. De slagen van de motor gaan dus als volgt: inlaat, compressie, arbeid, compressie, arbeid en uitlaat. Tussen de arbeid- en tweede compressieslag worden uitlaatgassen vrijgelaten en nieuwe zuurstof de cilinder ingebracht. In principe is de motor twee keer een drietakt. Volg je het nog?
De naam van platform Xiaomi’s Ferrari look-a-like geloof je niet
Het komt erop neer dat er per omwenteling van de krukas vaker een ontbranding is. Bij een viertakt wordt er per zes omwentelingen drie keer ontbrand en bij de zestakt vier keer. Onderstaande foto’s van Porsche maken het ongetwijfeld duidelijker.
:format(jpeg):background_color(fff)/https%3A%2F%2Fwww.autovisie.nl%2Fwp-content%2Fuploads%2F2024%2F09%2Fporschetwo-times-threestrokepatentfilling21.jpg)
:format(jpeg):background_color(fff)/https%3A%2F%2Fwww.autovisie.nl%2Fwp-content%2Fuploads%2F2024%2F09%2Fporschetwo-times-threestrokepatentfilling17.jpg)
:format(jpeg):background_color(fff)/https%3A%2F%2Fwww.autovisie.nl%2Fwp-content%2Fuploads%2F2024%2F09%2Fporschetwo-times-threestrokepatentfilling22.jpg)
:format(jpeg):background_color(fff)/https%3A%2F%2Fwww.autovisie.nl%2Fwp-content%2Fuploads%2F2024%2F09%2Fporschetwo-times-threestrokepatentfilling18.jpg)
:format(jpeg):background_color(fff)/https%3A%2F%2Fwww.autovisie.nl%2Fwp-content%2Fuploads%2F2024%2F09%2Fporschetwo-times-threestrokepatentfilling19.jpg)
:format(jpeg):background_color(fff)/https%3A%2F%2Fwww.autovisie.nl%2Fwp-content%2Fuploads%2F2024%2F09%2Fporschetwo-times-threestrokepatentfilling20-_1_.jpg)
:format(jpeg):background_color(fff)/https%3A%2F%2Fwww.autovisie.nl%2Fwp-content%2Fuploads%2F2024%2F09%2Fporschetwo-times-threestrokepatentfilling21.jpg)
:format(jpeg):background_color(fff)/https%3A%2F%2Fwww.autovisie.nl%2Fwp-content%2Fuploads%2F2024%2F09%2Fporschetwo-times-threestrokepatentfilling17.jpg)
:format(jpeg):background_color(fff)/https%3A%2F%2Fwww.autovisie.nl%2Fwp-content%2Fuploads%2F2024%2F09%2Fporschetwo-times-threestrokepatentfilling22.jpg)
:format(jpeg):background_color(fff)/https%3A%2F%2Fwww.autovisie.nl%2Fwp-content%2Fuploads%2F2024%2F09%2Fporschetwo-times-threestrokepatentfilling18.jpg)
:format(jpeg):background_color(fff)/https%3A%2F%2Fwww.autovisie.nl%2Fwp-content%2Fuploads%2F2024%2F09%2Fporschetwo-times-threestrokepatentfilling19.jpg)
:format(jpeg):background_color(fff)/https%3A%2F%2Fwww.autovisie.nl%2Fwp-content%2Fuploads%2F2024%2F09%2Fporschetwo-times-threestrokepatentfilling20-_1_.jpg)
Onbekend is nog wat het exacte voordeel is van de zestaktmotor van Porsche. Logischerwijs zorgt het voor een efficiëntere aandrijflijn.
Deze goedkope Chinese EV is Europese concurrentie te slim af
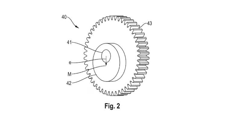
Een nadeel heeft het sowieso: het is complex. Een belangrijk onderdeel van Porsches zestaktmotor is een krukas die in twee circkels draait. Hierdoor wisselt het middelpunt van de rotatie waardoor de compressie verandert. Porsche heeft patent aangevraagd op de techniek. De vraag is echter of we dit ooit in een productieauto terug gaan zien.
Lees ook:
- Bastian (28) liet zich verleiden door deze Porsche 911: "Mijn vader had er ook een"
- Porsche Cayenne Electric S krijgt aantal pk’s waar zelfs Satan van schrikt
- Te traag en te snel leeg! Dit Europese land stopt per direct met elektrische auto's voor de politie
- Deze luxe wintersport-SUV's zijn na fikse afschrijving nu betaalbaar als occasion
Ook interessant
-
Nieuwe Porsche voor minder dan 20.000 euro: smaakgevoelige elektrische auto duikt op in Italië
-
Je gelooft nooit dat het Porsche-bestuur veel geleerd heeft van déze auto: “Het was een eyeopener”
-
Nieuwe Porsche Cayenne heeft 1.156 pk en krijgt als Turbo opvallende vleugels aan de achterkant
-
Deze Porsche-occasion wordt ooit nog héél veel geld waard
-
Een jaar te laat? Waarom we denken dat Mini zich heeft vergist met deze speciale Victory Edition
-
Volkswagen doet Apple na met dit model genaamd Neo, wordt deze ook goedkoper?
-
Genomineerd voor Milieuleugen van het Jaar! Dit merk gaat te ver met greenwashing, vinden critici
-
Duurtest Leapmotor B10: is dit de beste elektrische auto voor 30.000 euro?
-
Volkswagen Tayron en Tiguan ineens fors goedkoper: dit kosten ze in Nederland
-
Honda neemt verlies van 13,5 miljard euro en schrapt plots zijn elektrische auto’s, wellicht was ‘0’ niet de juiste naam
-
Raar! Deze nieuwe Ferrari heeft een ‘spoiler’ ín het interieur
-
Max Verstappen niet enige Nederlander tijdens F1 Shanghai: Esmee (20) – “Ontevreden als ik niet win”
:format(jpeg):background_color(fff)/https%3A%2F%2Fwww.autovisie.nl%2Fwp-content%2Fuploads%2F2024%2F07%2FStijn-Kuster1703-e1720450327879.jpg)