Zelf sleutelen aan een auto? BMW maakt het onmogelijk met dit onderdeel
Er zijn tekeningen uit een BMW-patent opgedoken, waarop een opvallend stukje techniek te zien is. Of je daar blij mee moet zijn? Esthetisch verantwoord is het wel, maar het zorgt er ook voor dat jij niet meer zo makkelijk aan je Bimmer kunt sleutelen.
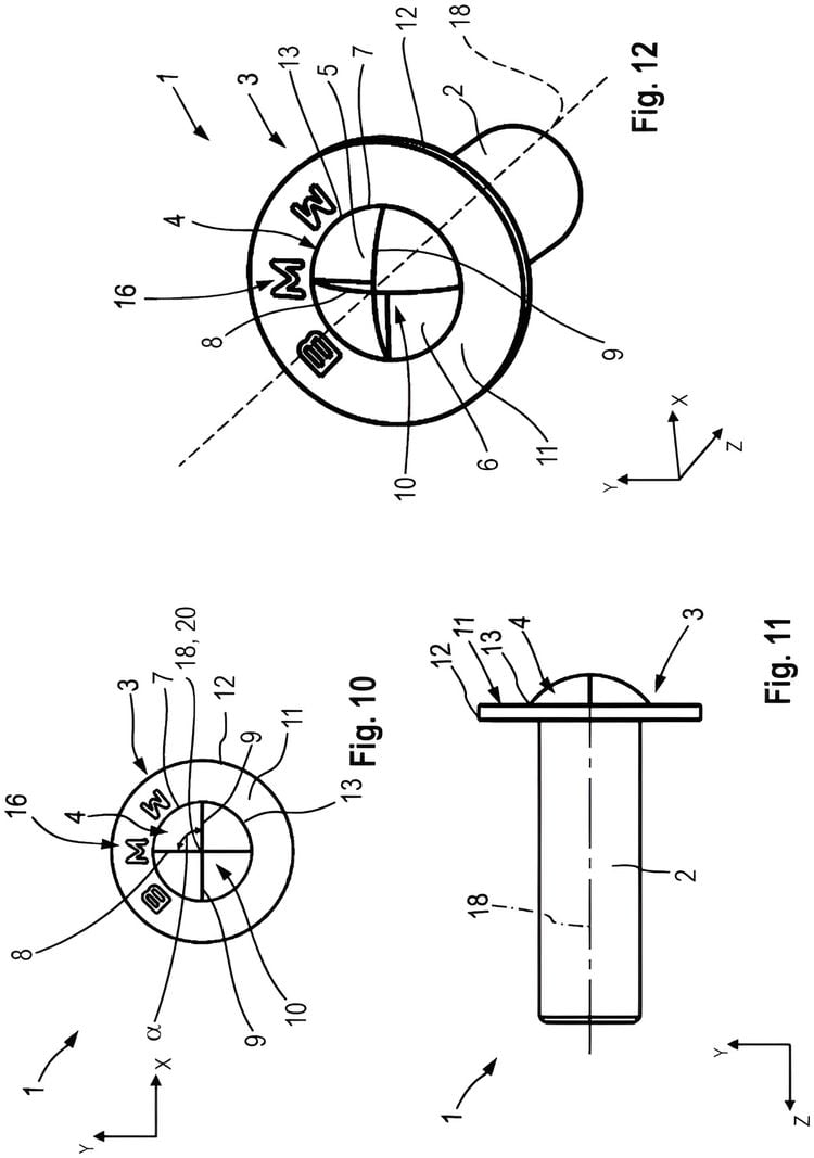
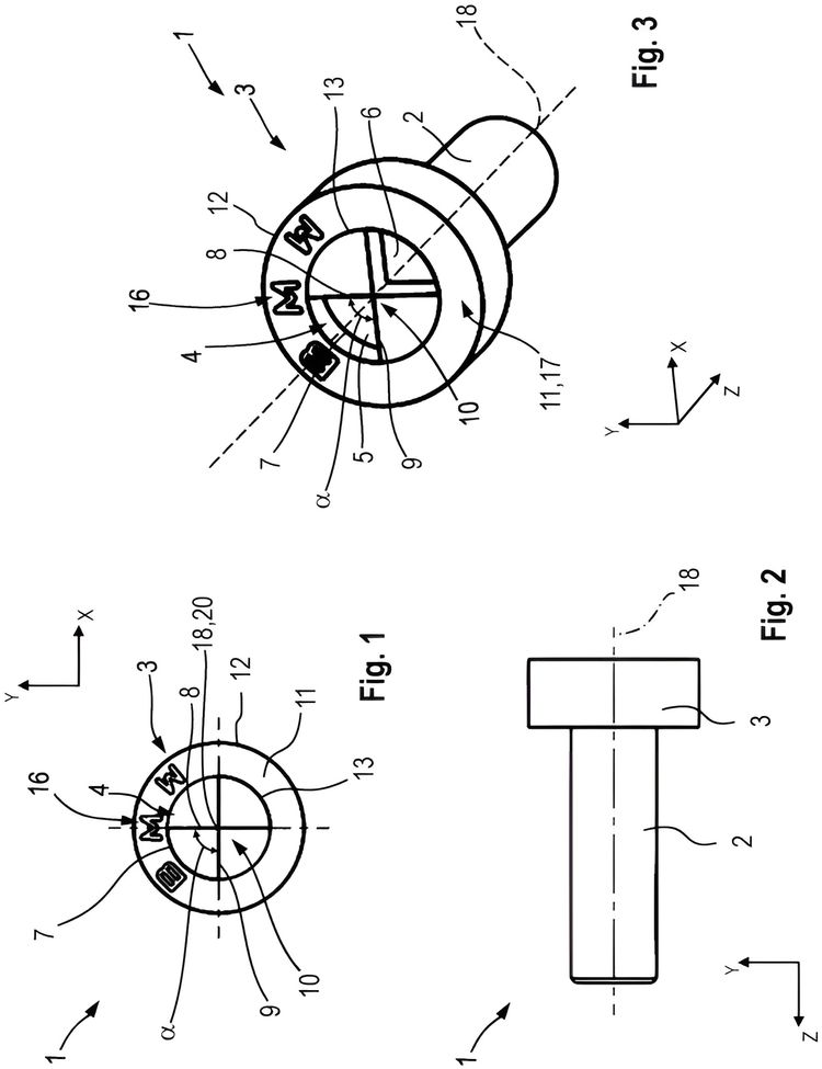
Op de tekening zien we een patent voor een nieuwe schroefkop. Dit is geen kruiskop of platkop, maar het bekende BMW-logo. Het midden bestaat uit vier vlakken, waarvan er twee zijn uitgehold om een bijpassende bit grip te geven. De andere twee blijven dicht en vlak. Rondom is zelfs het BMW-logo in reliëf aangebracht. Visueel is het onderscheidend, maar met universeel gereedschap zul je deze schroef niet zomaar los krijgen.
Waar BMW ze voor bedoeld heeft
Volgens het patent gaat het om structurele en semi-structurele toepassingen. Denk aan stoelbevestigingen en delen waar interieur en carrosserie samenkomen. Dit zijn plekken waar al hoge krachten spelen en waar normaal gesproken professioneel gereedschap nodig is. BMW beschrijft meerdere varianten, waaronder verzonken, platte en afgeronde koppen. Daarmee ligt toepassing op meer plekken voor de hand.
In de tekst van het patent staat ook het doel helder omschreven: voorkomen dat onbevoegden de schroeven los- of vastdraaien met algemeen gereedschap. Dat betekent in de praktijk dat toegang is voorbehouden aan BMW zelf en partijen met speciaal merkgereedschap.
Een patent. En nu?
Zelf sleutelen aan je BMW zou door deze schroeven dus lastiger worden en onafhankelijke garages krijgen er een obstakel bij. Iets eenvoudigs als een stoel demonteren verandert zo al snel in een dealerbezoek. Toch kunnen de bezitters van Beierse bolides nog gerust ademhalen: voorlopig blijft het alleen bij een patent en er zijn geen plannen voor productie bekend.
Mochten deze schroeven toch op de markt komen, dan vertrouwen we erop dat bepaalde Chinese webshops binnen de kortste keren met alternatieven, inclusief passende schroevendraaier, zouden komen.
Lees ook:
- BMW i8 wordt bereikbaar, daarom leggen YouTubers er wankelmotoren en zescilinders in
- Zo kwam BMW op het idee van de nieren | Sjoerds Weetjes 494
- BMW roept honderdduizenden auto’s terug vanwege brandgevaar: dit kost het als jij er een hebt
- Vrij nieuwe elektrische BMW kost 40.000 euro minder dan nieuw en rijdt erg goed
Ook interessant
-
Geen busje, maar ‘grand limousine’! De Mercedes VLE is een rijdende huiskamer en bioscoop in één
-
Nieuwe uitvinding van Mercedes maakt einde aan wagenziekte, dit is hoe het werkt
-
Zo kwam BMW op het idee van de nieren | Sjoerds Weetjes 494
-
BMW roept honderdduizenden auto’s terug vanwege brandgevaar: dit kost het als jij er een hebt
-
Net onder de 7.000 euro: deze occasion is heel licht, heeft de motor achterin en rij je belastingvrij
-
Ben je vergeetachtig? Dan kan deze gloednieuwe BMW je een fikse verkeersboete opleveren
-
Deze occasion wil je: In de jaren negentig versloeg deze gezinsauto Porsche 911’s bij het stoplicht
-
Met deze occasion kun je betaalbaar goed voor de dag komen
-
Luxe Bentley-concurrent kost nu door giga-afschrijving 20.000 euro
-
Dit is de populairste occasion van Nederland en dat heeft een goede reden, maar is hij ook de beste?
-
Deze occasion ziet er erg chique uit, terwijl hij slechts 9.000 euro kost
-
Met deze representatieve auto heb je een no-nonsense occasion, maar pas wel goed op
:format(jpeg):background_color(fff)/https%3A%2F%2Fwww.autovisie.nl%2Fwp-content%2Fuploads%2F2025%2F07%2FWhatsApp-Image-2025-07-17-at-11.39.45.jpeg)
:format(jpeg):background_color(fff)/https%3A%2F%2Fwww.autovisie.nl%2Fwp-content%2Fuploads%2F2025%2F12%2FBMW_schroef_3-1.jpg)
:format(jpeg):background_color(fff)/https%3A%2F%2Fwww.autovisie.nl%2Fwp-content%2Fuploads%2F2025%2F12%2FBMW_Schroef_2-1.jpg)
:format(jpeg):background_color(fff)/https%3A%2F%2Fwww.autovisie.nl%2Fwp-content%2Fuploads%2F2025%2F12%2FBMW_schroef_1-1-1-1.jpg)
:format(jpeg):background_color(fff)/https%3A%2F%2Fwww.autovisie.nl%2Fwp-content%2Fuploads%2F2025%2F12%2FBMW_Schroef_5-1-1.jpg)
:format(jpeg):background_color(fff)/https%3A%2F%2Fwww.autovisie.nl%2Fwp-content%2Fuploads%2F2025%2F12%2FBMW_schroef_4-1-1.jpg)